Washingtonia robusta en Phoenix canariensis in showroom/hal

Post hier al je vragen over je winterharde en niet winterharde palmbomen.

Washingtonia robusta en Phoenix canariensis in showroom/hal

Berichtdoor Jdem op 18 sep 2020 14:49

Hoi!
Ik heb een bedrijfshal/showroom en ben benieuwd of het mogelijk is om de Washingtonia robusta en de Phoenix canariensis in deze ruimte te houden?
De hal is niet verwarmd en heeft in het dak een vrij grote lichtkoepel, dus geen donkere hal.
Het is niet de bedoeling dat ze dan in de zomer naar buiten gaan, ze blijven dus binnen staan.
Misschien dat er ook andere soorten zijn die hier geschikt voor zijn (behalve een kunstpalm) :D
Alvast bedankt!
Groeten John
Jdem
 
Berichten: 14
Geregistreerd: 17 apr 2020 21:51
0 bedankjes

Re: Washingtonia robusta en Phoenix canariensis in showroom/

Berichtdoor draco op 18 sep 2020 16:29

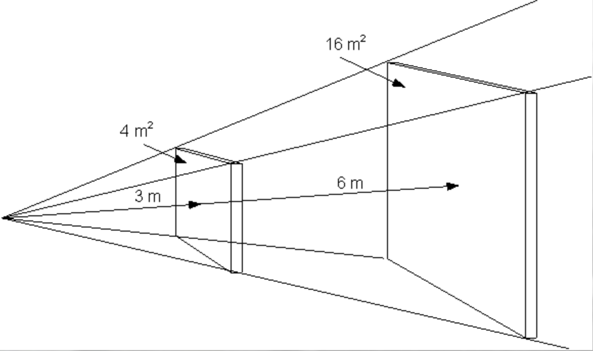
Washingtonia en Phoenix canariensis zijn niet erg geschikt voor binnen. En wat het licht betreft hangt het eraf hoe hoog de hal is. In onze perceptie kan het met zo'n koepel heel licht lijken. Maar voor planten telt de afstand tot de lichtbron. De intensiteit van het invallend licht neemt af met het kwadraat van de afstand. Met een eenvoudige luxmeter kun je dat zo vaststellen.
Als alternatief kun je denken aan Rhapis excelsa die met minder licht genoegen neemt en goed koudebestendig is (± 0°C). Howea forsteriana (de kentia palm) is ook mogelijk als het in de hal niet kouder wordt dan 5 à 10° en het er niet tocht. Washingtonia en de Phoenix zullen sterk naar het licht groeien met een slungelige groei tot gevolg. Voor de dwergdadelpalm Phoenix roebelenii gelden vergelijkbare voorwaarden als voor de kentia. De bladerkroon zal ook breder uitgroeien maar dat is vanaf een redeljke stamhoogte minder storend.
Bijlagen
Screenshot 2020-09-18 at 16.28.47.png
Screenshot 2020-09-18 at 16.28.47.png (52.34 KiB) 5897 keer bekeken
"Alleen mensen die kunnen twijfelen zijn in staat hun wereldbeeld bloot te stellen aan nieuwe feiten en inzichten"
Avatar gebruiker
draco
 
Berichten: 6912
Geregistreerd: 17 sep 2012 21:49
715 bedankjes

Re: Washingtonia robusta en Phoenix canariensis in showroom/

Berichtdoor Jdem op 18 sep 2020 19:31

Hoi Draco,
Dank voor je snelle reactie!
De hal is ongeveer 5 meter hoog en zal in de winter niet kouder zijn dan een graad of 10, zeker geen tocht. Had een Washingtonia robusta met een stamhoogte van rond de 150 cm ingedachte, dus een totale hoogte van zo’n 3,5 mtr. Maar dan zou die wel ergens in de hoek geplaatst worden, dus niet direct onder de lichtkoepel.. maar dan zal de phoenix roebelenii een beter alternatief zijn dus?
Had toch stiekem gehoopt dat de Washingtonia robusta mogelijk was :D
Jdem
 
Berichten: 14
Geregistreerd: 17 apr 2020 21:51
0 bedankjes

Re: Washingtonia robusta en Phoenix canariensis in showroom/

Berichtdoor draco op 18 sep 2020 21:22

Ik vrees dat de bladeren van een Washingtonia gaan hangen als de bladstelen te lang worden. De palm wordt er dan niet fraaier op. Bij Phoenix roebelenii worden de bladstelen ook langer maar dat is minder storend bij deze vederpalm waar de bladeren toch al gaan afhangen.

Op internet zoekend naar grote exemplaren kom ik alleen dit bedrijf tegen:
https://www.teeningapalmen.nl/phoenix-r ... gdadelpalm

Maar ik weet vrijwel zeker dat Nieuwkoop de Kwakel in Kudelstaart ze ook verkoopt. Deze groothandel importeur verkoopt niet aan particulieren maar dat was voorheen althans makkelijk te omzeilen. En voor een bedrijf moet het geen probleem zijn. Ze kunnen palmen tot 10 m hoogte leveren. In Honselersdijk zit een soortgelijk bedrijf - Fachjan.

p.s. Je hebt de vraag 2 x gepost John. Je kunt die doublure nog verwijderen zolang er op is gereageerd.

Han
"Alleen mensen die kunnen twijfelen zijn in staat hun wereldbeeld bloot te stellen aan nieuwe feiten en inzichten"
Avatar gebruiker
draco
 
Berichten: 6912
Geregistreerd: 17 sep 2012 21:49
715 bedankjes

Re: Washingtonia robusta en Phoenix canariensis in showroom/

Berichtdoor Rob op 18 sep 2020 22:24

Ik zeg gelijk Chamaedorea??
vrijwel alle soorten hierin passen by minimaal 10°, en relatief donker....uitzoeken .
Een bak vol met Chamaedorea metallica of zoiets moet wel een puik gezicht zijn...

08/09, -14.7°C__14/15, - 3.6°C__20/21, -9.1°C
09/10, -10.0°C__15/16, - 5.9°C__21/22, -5.2°C
10/11, - 7.9°C__16/17, - 7.9°C__21/22, -6.9°C
11/12, -14.7°C__17/18, - 8.3°C__22/23, -7.1°C
12/13, - 7.9°C__18/19, - 7.5°C
13/14, - 0.8°C__19/20, - 2.8°C
Avatar gebruiker
Rob
Beheerder
Beheerder
 
Berichten: 11490
Geregistreerd: 05 aug 2011 23:08
Woonplaats: Halsteren, NL
1142 bedankjes

Re: Washingtonia robusta en Phoenix canariensis in showroom/

Berichtdoor draco op 18 sep 2020 22:34

Rob schreef:Ik zeg gelijk Chamaedorea??
vrijwel alle soorten hierin passen by minimaal 10°, en relatief donker....uitzoeken .
Een bak vol met Chamaedorea metallica of zoiets moet wel een puik gezicht zijn...


De metallica is toch meer geschikt als bodembedekker Rob. Ze kunnen een aardig stammetje maken maar dat duurt wel even. John denkt aan een palm van 3,5 m hoogte. ;)
"Alleen mensen die kunnen twijfelen zijn in staat hun wereldbeeld bloot te stellen aan nieuwe feiten en inzichten"
Avatar gebruiker
draco
 
Berichten: 6912
Geregistreerd: 17 sep 2012 21:49
715 bedankjes

Re: Washingtonia robusta en Phoenix canariensis in showroom/

Berichtdoor Jdem op 18 sep 2020 22:39

Han,
Ik was al op de website van Teeniga, en die heeft er idd wel een aantal staan.
Zal ook even bij die andere checken wat er mogelijk is.
Thanks voor tips weer :thumb_up:
Ps. Zojuist mijn 2e post verwijderd :D

Rob, ook bedankt voor je reactie! Misschien wel goed te combineren met de Phoenix roebelenii :thumb_up:
Jdem
 
Berichten: 14
Geregistreerd: 17 apr 2020 21:51
0 bedankjes

Re: Washingtonia robusta en Phoenix canariensis in showroom/

Berichtdoor Rob op 18 sep 2020 22:45

Absoluut Han!
De C. cataracterum, C. costaricana of C. tepejilote bijv zijn beduidend hoger. de laatste tot wel 6m.
Jammerlijk zijn de allermooiste Chamaedorea meestal rond de 1m (C. tenella, C. tuerckheimii)

08/09, -14.7°C__14/15, - 3.6°C__20/21, -9.1°C
09/10, -10.0°C__15/16, - 5.9°C__21/22, -5.2°C
10/11, - 7.9°C__16/17, - 7.9°C__21/22, -6.9°C
11/12, -14.7°C__17/18, - 8.3°C__22/23, -7.1°C
12/13, - 7.9°C__18/19, - 7.5°C
13/14, - 0.8°C__19/20, - 2.8°C
Avatar gebruiker
Rob
Beheerder
Beheerder
 
Berichten: 11490
Geregistreerd: 05 aug 2011 23:08
Woonplaats: Halsteren, NL
1142 bedankjes

Re: Washingtonia robusta en Phoenix canariensis in showroom/

Berichtdoor draco op 18 sep 2020 23:39

Als je die laatste kunt verkrijgen Rob, houd ik me graag aanbevolen. :D Chamaedorea elegans is mijn favoriet vanwege z 'n grote aanpassingsvermogen (2 soorten in de collectie).
"Alleen mensen die kunnen twijfelen zijn in staat hun wereldbeeld bloot te stellen aan nieuwe feiten en inzichten"
Avatar gebruiker
draco
 
Berichten: 6912
Geregistreerd: 17 sep 2012 21:49
715 bedankjes

Re: Washingtonia robusta en Phoenix canariensis in showroom/

Berichtdoor Rob op 19 sep 2020 23:20

Tennella heb ik al Han...De potato chip nog niet...
:off_topic:

08/09, -14.7°C__14/15, - 3.6°C__20/21, -9.1°C
09/10, -10.0°C__15/16, - 5.9°C__21/22, -5.2°C
10/11, - 7.9°C__16/17, - 7.9°C__21/22, -6.9°C
11/12, -14.7°C__17/18, - 8.3°C__22/23, -7.1°C
12/13, - 7.9°C__18/19, - 7.5°C
13/14, - 0.8°C__19/20, - 2.8°C
Avatar gebruiker
Rob
Beheerder
Beheerder
 
Berichten: 11490
Geregistreerd: 05 aug 2011 23:08
Woonplaats: Halsteren, NL
1142 bedankjes


Keer terug naar Winterharde en niet-winterharde palmbomen

Wie is er online

Gebruikers op dit forum: Geen geregistreerde gebruikers. en 50 gasten